原标题:天涯社区等90款APP侵害用户权益被下架,含天涯社区、大麦、脉脉
【TechWeb】近日,工信部发布关于下架侵害用户权益APP名单的通报,内含天涯社区、大麦等90款APP,其中,天涯社区、大麦、途牛旅游、脉脉等被列入反复出现问题下架的应用软件名单。
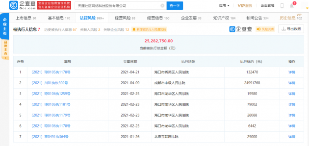
企查查APP显示,天涯社区目前共有7条被执行人信息,当前被执行总金额超2528万;大麦共有五条行政处罚信息,最新一条处罚日期为2021年4月16日,因未经批准,擅自出售演出门票被罚款5万元整。






天涯社区APP
我要反馈
新浪科技公众号
“掌”握科技鲜闻 (微信搜索techsina或扫描左侧二维码关注)




